Документ взят из кэша поисковой машины. Адрес оригинального документа : http://www.cosmos.ru/mars96/33_mars_e.MARIPROB.htm
Дата изменения: Fri Mar 22 16:45:01 2002
Дата индексирования: Tue Oct 2 02:21:41 2012
Кодировка: Windows-1251

Поисковые слова: http www.badastronomy.com bad tv foxapollo.html
PhSRM
MARS-96     ROBOTIC SPACECRAFT MISSION TO MARS. Brief description
Table of contents
Inroduction
Scientific goals
Scheme of the mission
Spacecraft
Orbiter
Payload of the Orbiter
Scientific goals of
the experiments
Description of
the instruments
Small Stations
Penetrators
Conclusion
Experiment: MARIPROB

IONOSPHERIC PLASMA SPECTROMETERS

MEASUREMENTS OF MARS IONOSPHERE PARAMETERS



Main scientific objectives:Martian ionosphere and the cold plasma convection in the Martian magnetosphere.


MARIPROB measures the following ionospheric parameters:
  • electron number density;
  • electron temperature;
  • ion number density;
  • mass composition of major components;
  • full vector of the ion drift velocity.
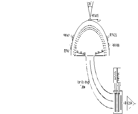
  • Instrument consists of:

  • 2 identical ion energy spectrometers - a set of 30 Retarding Potential Analyzers without collectors sharing single MCP-based ion registration unit with 109 dynamic range for input ion flux;
  • Spherical Ion Probe (SIP)- a spherical retarding potential analyzer operating in a floating mode with periodic measurements of integral ion and electron spectra.


  • Main characteristics:
    Ion, electron number densities, Ni, Ne 0,1-5 x 105 cm-3
    Ion, electron temperature, Ti, Te <15000 К
    Cold plasma convection velocity 10 m/s - 35 km/s
    Field of view(FOV)
    4 х 3,14 .
    FOV of one RPA
    30о
    FOV of one head 190о
    Mass composition H+, O+, O2+
    Mass of the instrument 7.9 kg





    Cooperation:Austria, Belgium, Bulgaria, Czech, Germany, Hungary, Ireland, Russia, USA.

    Contact persons:V. Afonin (PI), vafonin@mx.iki.rssi.ru


    In the beginning of the chapterHome